1. 香蕉小视频,香蕉操逼视频,色香蕉在线视频,香蕉视频APP官网下载

      当前位置:网站首页 > 新闻资讯 > 公司动态

      香蕉小视频模压工艺

      作者:永嘉亚特防腐阀门有限公司  来源:http://www.syebh.com  更新时间:2016-03-16 18:12:27  点击次数:

      香蕉小视频模压工艺

      模压是氟塑料衬里跌蝶阀最常用的一种方法,适合于多品种小批量的生产方式。它是将一定量的氟塑料(粉状、粒状、纤维状、片状和碎屑状等)放入成型的模腔中,然后闭合,放在加热炉内加热到一定温度,取出来,放在压力机中在压力作用下熔融流动,缓慢充满整个型腔而取得型腔所赋予的形状。随着在模具内塑化、混合和分散,熔体逐渐失去流动性变成不熔的体型结构而成为固体,并不断用冷水冷却,冷却到一定温度打开模具,而成为成品,从而完成模压过程。氟塑料衬里层的质量主要取决于氟塑料原料质量、衬里模压工艺和模具的设计。
      氟塑料衬里阀门成型质量包括衬塑层的内在质量和外在质量。内在质量包括衬塑层的物理和化学性质及其均匀性;它不仅要求氟塑料具有相应的物理和化学性能。在模压过程中,还要注意塑化的温度和压力,正确掌握模压工艺。外在质量包括衬塑层的尺寸、外观和色泽等。衬塑层的外表面质量主要取决于模具的设计和氟塑料在模具内的塑化、混合和分散的能力。塑化效果与模具结构以及工艺配方、原料质量和加工工艺条件的控制有直接的关系。
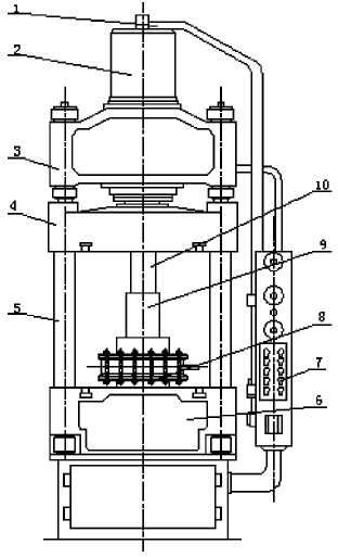
      油压机与阀体模压示意图
      1.主柱 2.活动横梁 3.上横梁 4.油缸 5.油管 6.压头 7.模具与料筒 8.阀体 9.操纵箱 10.下横梁
      塑料塑化成型对温度和压力的要求非常严格,掌握氟塑料的塑化时间非常重要。塑化时间太短,氟塑料未成型就已分解交联;若塑化时间太长,则生产效率低,需要很长时间才能固化脱模,生产周期长。在生产中,控制塑化时间的关键因素就是温度和压力。若不能控制好塑化温度和压力,则很可能产生诸如衬里层表面硬度低、表面光亮度不足;衬塑尺寸控制困难;熔接痕难以消除;衬塑层沿氟塑料流动方向有“鱼鳞”样凸凹不平的有规则的波纹,或表面箭头状波纹等问题。值得一提的是在加压过程中放气次数、放气时间、间隔时间都对衬塑层的外观质量有直接影响,在生产中应严格控制,并做好生产记录。工艺人员可以在生产前对氟塑料拟订其塑化曲线,掌握其塑化时间,然后在实践中根据实际情况进行工艺调整。因每种产品的公称尺寸、公称压力不同,氟塑料配方、原材料质量、要求各异,其温度、压力,放气等工艺控制也不尽相同,根据具体情况决定,从而制订出符合本企业的模压工艺。
      氟塑料衬里蝶阀在设计制造工艺上与常规蝶阀相比,有相同的地方,也有不同的地方,本文力求全面介绍氟塑料衬里蝶阀的设计要点、制造方法、工艺特点,帮助读者了解香蕉小视频。
      氟塑料衬里蝶阀的出现,是科学技术进步的产物,是对常规蝶阀产品的创新,不仅节约了大量的稀有金属,合理的利用了资源,而且还节能、环保。满足了石油化工工业对特殊阀门的需求,经济效益和社会效益特别显著。值得推广应用。
       香蕉小视频模压工艺
      香蕉小视频,香蕉操逼视频,永嘉香蕉视频APP官网下载生产厂家永嘉亚特防腐阀门有限公司专业生产香蕉小视频,香蕉操逼视频,香蕉小视频谒诚为您提供优质的产品与服务。
      永嘉亚特防腐阀门有限公司
      联系人:吴经理
      电话:0577-67161009
      手机:13858881433 18966252897
      传真:0577-67160009
      Q  Q:936610452
      邮箱:wzszsbz@163.com
      网址:http://www.syebh.com
      销售地址:温州瓯北镇肖桥头沿河路11号
      公司地址:永嘉县瓯北镇东瓯工业区和一村
      本文链接:http://www.syebh.com//news/news369.html
      上一篇:脱盐水介质使用衬胶蝶阀寿命缩短原因
      下一篇:香蕉小视频氟塑料衬里层的质量要求

      相关文章

      香蕉视频APP官网下载属于什么阀门-2020-05-20
      香蕉视频APP官网下载的作用-2020-05-07
      香蕉操逼视频都适合什么样的环境-2016-04-22
      香蕉操逼视频主要检查内容-2016-04-22
      香蕉操逼视频的优点-2016-04-22
      防腐香蕉视频APP官网下载应用的注意事项-2016-04-22
      香蕉操逼视频的密封面如何研磨?-2015-06-11
      简析氟塑料衬里蝶阀的基本知识-2021-06-28
      香蕉视频APP官网下载衬里材料,香蕉视频APP官网下载衬F4与F46区别说明-2016-04-28
      香蕉小视频及连接方式的分类-2016-04-07
      永嘉色香蕉在线视频阀业有限公司郑重声明-2019-09-12
      香蕉操逼视频用途和使用-2016-04-27
      香蕉操逼视频的密封面如何堆焊?-2016-04-27
      香蕉操逼视频的优势-2016-04-27
      香蕉小视频安装使用和注意事项(上)-2016-04-27
      关于香蕉小视频

      公司简介

      联系香蕉小视频

      网 址:http://www.syebh.com邮 箱:wzszsbz@163.com
      公司地址:永嘉县瓯北镇东瓯工业区和一村
      © 2019 浙江色香蕉在线视频阀业有限公司 版权所有 浙ICP备69995215号
      网站地图